首页
动态
新闻
政策
图库
视频
企业
产品
需求
招商
招标
技术
下载
访谈
教育
会议
展会
产品
热门词:
空气能
新能源
太阳能
LED
充电桩
节电设备
高压电机
壁挂炉
变频器
高压变频器
选择频道搜索
动态
新闻
政策
图库
视频
企业
产品
需求
招商
招标
技术
下载
访谈
教育
会议
展会
首页
动态
新闻
政策
图库
视频
企业
产品
需求
招商
招标
技术
下载
访谈
教育
会议
展会
首页
>
产品
>
生态环保
>
大气治理
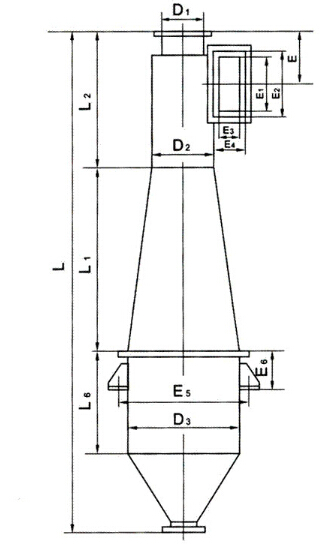
金鼎环保 CLK扩散式旋风除尘器
单价
面议
对比
询价
暂无
浏览
411
发货
河北省沧州市
付款后3天内
品牌
金鼎
过期
长期有效
更新
2015-07-03 14:02
联系方式
加关注
0
沧州金鼎环保设备有限公司
企业会员
第11年
资料
未认证
保证金
未缴纳
河北省-沧州市
上次登录 2015-07-02
•
穆经理 (先生)
进入主页
更多产品
详细说明
简介
CLK扩散式旋风除尘器,适用于捕集干燥的非纤维性的颗粒状粉尘,主要特点是筒身呈倒圆锥形,因而减少了含尘气体自筒身中心短路到出口去的可能性,并装有圆锥形的反射屏,防止两次气流将已经分离下来的粉尘重新卷起,被上升气流带出,因而提高了除尘效率。
适用于冶金、铸造、建材、化工粮食、水泥等行业中,捕集干燥的非纤维性颗粒状粉尘和烟尘除尘,可做回收物料设备使用。
技术性能
举报
收藏
0
评论
0
分享
90
更多
>
本企业其它产品
静电除尘器 双区(级
金鼎环保——静电除尘
金鼎环保 XLD型旋风收
金鼎环保——CLK扩散
金鼎环保——湿式除尘
网站首页
|
关于我们
|
我们宗旨
|
我们使命
|
我们愿景
|
组织机构
|
专家机构
|
机构分布
|
领导机构
|
管理团队
|
联系方式
|
网站地图
|
排名推广
|
广告服务
|
积分换礼
|
网站留言
|
京ICP备050212号-1