【关键词】:除氧器;余热回收;技术改进;Deaerator;WasteHeatRecovery;TechnicalImprovement
【摘要】:由于除氧器排汽余热回收装置一方面能节能降耗,提高经济效益;另一方面,可以大大减少因排汽而导致的噪音和空气污染。而热电厂除氧器系统的排汽量较大,含有大量热能的蒸汽排至大气,浪费现象比较严重。为了达到节能创效的目的,本项目采用三种方式对余汽回收装置进行结构优化,使余汽热量得到充分利用,既实现节能降耗的目的,又达到了环保的要求。
1.发展现状
电厂用除氧器如果对空排放,将导致大量的热量损失和高品质洁净水的损失,在如今能源危机、水源紧缺的条件背景下,必然要进行余热回收,达到节能减排的目的。目前工厂电站所使用的锅炉中,常用除氧技术主要有如下几种,第一,热力式除氧:水流进入螺旋式管道,顺管道内壁往下旋流成膜,水表面积得以增大,此时从管道下方通入蒸汽,使水汽第一次混合换热;下层设有三层淋水篦组,可使水二次分流,使水呈滴状,均匀落下;再下层为填料区,水与蒸汽在此第二次充分接触,加热至温度压力达到饱和,使氧气溶解量下降,达到除氧的目的。第二,内置式除氧器:将除氧头放置于水箱内部,其工作原理与热力式除氧一致,取消了传统式立式除氧器大直径开孔,减少了除氧器的局部应力。适用于大机组。第三,真空式除氧器:当水面上的压力小于大气压时,氧气在水中的溶解度会降低,此时氧气会从水面空间不断逸出,从而达到除氧的目的。此外还有电化学式,海绵铁式:添加化学试剂,如氧化铁,用于吸收氧化物(适用于20t、30t小锅炉)[1][2][3]。目前,余热回收的方法采用的是热交换方式,根据具体的换热方式又课分为直接式和间接式。
2.现有不足
传统的余气回收技术即为利用乏汽热量,加热生活用水,降低人们生活消耗能量成本来实现。将生活用水通过适当的管路,进入除氧器的加热腔,与余气排放管路通入同一个加热系统当中,使用乏汽中的高温水蒸气来加热生活用水,最后通过U形管注入到热水存储箱里。利用控温装置,调节箱内的热水温度,将合格的热水提供给用户使用。当供水温度下降时,还可以将箱内存水再次注入加热循环,直到温度合格为止。此种方法是对除氧器余气热量的直接应用,效率较高,而且装置简单,贴近人们的日常生活大大减少了居住热水所需燃煤的消耗量。但是,由于大型除氧器的使用范围一般在工厂和电站的锅炉内,并不临近集中居住区,可以提供的用户较少,若热水得不到方便及时的利用,热量仍然会大量损失。若向较远处的用户提供,又会加大运输途径中的能量损耗,提高装置造价,降低性价比。并且,长期采用这种办法,会导致热水存储箱内大量积垢,需要一定的排垢成本,对供水质量也有一定影响[4][5][6]。同时,这种办法的能量利用较为单一,仅仅是热量的传递,不能提供更多种能量来源。针对这种情况,有必要对除氧器余气回收技术进行深入研究优化,以提高能源利用率,通过多种方式实现余气回收。
我国的电力辅机设备生产技术在新世纪以来获得较大进步,需求也不断变化,原料生产、设备制造、制品加工等形成了全套供应链体系,其中电力用除氧器排汽余热回收装置的生产和应用发展尤为突出。随着国内技术应用领域的不断推广,各种除氧器排汽余热回收装置的发展十分迅速[7][8][9][10]。
3.技术改进措施
当前,设备管理和改进是工业发展进步的重要组成部分之一,适时改造和维护、修理设备,不但能提升设备的工作效率,更能提升企业经济效益。创新技术改进是企业可持续发展的不竭动力。
3.1.结构技术改进
本研究即为基于环保降噪、提高效益、改进技术、提高寿命等方面开展的,首先,将余热回收装置的进汽管直接与除氧器相连,就近安装,以减少流体流动过程中阻力,促进溶解氧排出。其次,采用射水抽气器结构通入除盐水及除氧器排汽,使其混合,控制混合室内温度与进水量,进汽量三者平衡,保持汽水比例,利用热能之外同时利于多余不凝结气体排出。第三,设定适宜温度条件,进汽量保证充足,通过电动调节阀调节进水量,控制汽水比例。水混合换热处设置消音孔板,减小水流振动噪声并且消除除氧器排汽噪声。
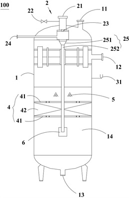
通过如上的结构技术改进,设计出一种除氧器余热回收装置,具体结构如图1所示。主体结构包含:余热回收罐,顶部设有排汽口、侧部设有第一进水口、底部设有出水口、内部构造有缓冲室;射水抽气器设置在余热回收罐上,射水抽气器包括第二进水口、调节阀、高速喷嘴、蒸汽吸入管以及扩口管,第二进水口、调节阀、高速喷嘴依次相连通,高速喷嘴、蒸汽吸入管分别与扩口管的扩口段相连通,第二进水口与蒸汽吸入管有部分位于余热回收罐的外侧,扩口管的收缩段向下延伸至所述余热回收罐的内部下方;控制单元,包括控制器、设在余热回收罐内且与所述控制器信号连接的测温元件,控制器与调节阀控制连接,控制器配置为:当测温元件的检测值大于温度阈值时,控制调节阀增大其开度;当测温元件的检测值小于或等于温度阈值时,控制调节阀减小其开度。

Figure1.Diagramofstructureimprovement
图1.结构改进示意图
3.2.改进特征
改进后的除氧器余热回收装置的特征归纳为如下四个方面:第一,测温元件为热电偶。第二,余热回收罐的结构内设有消音组件,消音组件包括设在余热回收罐内部下方的两层消音孔板、填充在所述两层消音孔板之间的消音填料。第三,消音组件与第一进水口之间设计有淋水组件,淋水组件包括沿上下设置的多层淋水篦子。淋水篦子的个数设置为3个。第四,扩口管的收缩段下端设计有防倒吸组件,以便阻止所述余热回收罐内底部的凝结水被倒吸进所述扩口管内。
4.总结
本研究改进的新型除氧器余热回收装置,包括余热回收罐,顶部设有排汽口、侧部设有第一进水口、底部设有出水口、内部构造有缓冲室;射水抽气器,设在余热回收罐上,射水抽气器包括第二进水口、调节阀、高速喷嘴、蒸汽吸入管以及扩口管,第二进水口、调节阀、高速喷嘴依次相连通,高速喷嘴、蒸汽吸入管分别与扩口管的扩口段相连通,第二进水口与蒸汽吸入管有部分位于余热回收罐的外侧,扩口管的收缩段向下延伸至余热回收罐的内部下方;控制单元,包括控制器、设在余热回收罐内且与控制器信号连接的测温元件,当测温元件的检测值大于温度阈值时,控制调节阀增大其开度;当测温元件的检测值小于或等于温度阈值时,控制调节阀减小其开度。
综上所述,该余汽回收装置具有如下性能特点:换热效率高,传热传质充分,除氧效果高;设计新颖,结构简单,故障率低;运行稳定,安全可靠,不凝结气体排入大气,降低管道氧腐蚀,延长设备管道使用寿命;其技术性能可靠,并且有效消除除氧器排汽噪声,达到环保要求。
参考文献:
[1] 宗绪东.火电厂除氧器排汽回收技术优化[J].中国科技信息,2019,14(7):72+74+12.
[2] 高建军.数据采集与PLC在除氧器运行中的节能运用[J].甘肃科技,2011,27(12):64-67.
[3] 吴桂云,李秋波.开放式可编程序控制器在除氧器上的应用[J].黑龙江造纸,2002,30(1):30-31.
[4] 张振刚.除氧器余汽回收方案的确定与综合效益分析[J].华北电力技术,2003(1):48-49+54.
[5] 李雅琴.浅析卧式除氧器的应用和发展[J].电站辅机,2017,38(1):19-22.
[6] 贾英杰.除氧器的余气回收技术革新论[J].价值工程,2010,29(24):254.
[7] 王升龙,索英杰,杨善让,等.射水抽气器结构优化的试验研究[J].化工机械,2016,43(3):287-291.
[8] 何乃昌,刘永佳,杨小青.一种新型节能环保多通道射水抽气器的研发[J].设计与分析,2014(18):112-113.
[9] 任新,张玄.大型火力发电机组高效真空泵节能改造可行性研究[J].军民两用技术与产品,2016(8):125.
[10] 王柏涛,盛志钧,彭勇超.汽轮发电机组射水系统改造的技术方案[J].冶金动力,2019(7):53-54.





